Забудьте про ржавчину! Пластиковый кузов автомобиля – это революция! Легкий, прочный, с крутым дизайном. Узнайте, почему это будущее автопрома!
Рубрика: Шины и диски

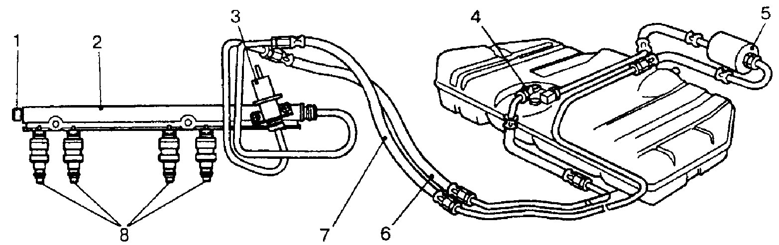
Системы Питания Бензиновых Двигателей
Узнайте все о современных системах питания бензиновых двигателей! От карбюраторов до впрыска – раскроем секреты мощности, экономии и снижения выбросов. ⛽ #бензиновыедвигатели

Безопасность детей в автомобиле: полное руководство по ремням безопасности
Безопасность детей в авто – ваш главный приоритет! Узнайте, как правильно выбрать и установить автокресло, избежать ошибок и обеспечить максимальную защиту ребенку в дороге. Все о ремнях безопасности и не только!

Гальваническая защита кузова автомобиля: надежный способ защиты от коррозии
Коррозия не страшна! Гальваническая защита кузова авто – это суперсила против ржавчины. Сохрани свой автомобиль молодым и сильным на долгие годы! Защита кузова – это инвестиция в будущее.

Оклеивание кузова автомобиля пленкой: полное руководство
Хочешь преобразить свой автомобиль до неузнаваемости? Оклейка авто пленкой – это крутой тюнинг, защита от царапин и способ выделиться из толпы! Узнай все секреты винилографии!

Очистка топливной системы бензинового автомобиля
Забудь о вялом разгоне и прожорливом бензобаке! Узнай, как **очистка топливной системы** вернет твоему авто былую мощь и экономичность. Простые советы и секреты!

Устройство двигателя ВАЗ 2114: Схема, компоненты и советы по ремонту
Хочешь понять, как работает сердце твоей Четырки? Раскрываем все секреты двигателя ВАЗ 2114! Схема, устройство, советы по ремонту – все здесь!

Карандаш для подкраски кузова автомобиля: простое решение для мелких дефектов
Мелкие сколы и царапины? Карандаш для подкраски кузова авто – твой секрет идеального вида! Быстро, просто, незаметно. Забудь о ржавчине и верни блеск своей машине!

Растворители ржавчины для кузова автомобиля
Ржавчина атакует твой автомобиль? Не дай ей шанса! Узнай, как быстро и эффективно удалить ржавчину и защитить кузов от дальнейшего разрушения. Советы и лучшие средства!

Топливная система Славуты: устройство, принцип работы и неисправности
Узнайте все о топливной системе вашей Славуты! От устройства до частых поломок и способов их устранения. Больше не бойтесь проблем с топливом!